Energiemanagement in tragbaren medizinischen Geräten Volle Power für Wearables

Bild: iStock, Chelsea Sampson
06.02.2019

Tragbare medizinische Geräte bieten immer mehr Funktionen bei immer kleinerer Baugröße. Deshalb sind innovative Energiemanagementlösungen erforderlich. Erfahren Sie, wie sich Akkulaufzeiten maximieren lassen und welche anderen Möglichkeiten der Energiegewinnung es für Wearables gibt.

Die Verfügbarkeit tragbarer Diagnosegeräte hat die elektronische Gesundheitsvorsorge revolutioniert. Mithilfe dieser Geräte können Patienten mit langwierigen beziehungsweise chronischen Krankheiten die Kontrolle wichtiger medizinischer Parameter problemlos in ihren Alltag integrieren. Dadurch ist eine nachhaltige Behandlung einfacher als je zuvor möglich. Wie bei den meisten technischen Geräten umfasst jedoch jede neue Generation von Wearables mehr Features als ihre Vorgänger. Und da mehr Funktionen meist mehr Energie erfordern, wird die Stromversorgung immer komplizierter. Die Verwendung größerer Akkus ist nicht möglich, da dies auch die Größe und das Gewicht der Geräte steigern würde - ein Umstand, der schon für Normalbenutzer unangenehm wäre, für ältere Patienten oder Kleinkinder jedoch eine unzumutbare Belastung darstellen würde. Auch ein häufigeres Aufladen ist keine gangbare Lösung. Damit bleibt nur die Möglichkeit, intelligentere Methoden für das Leistungsmanagement zu entwickeln.

Trotz ihrer geringen Größe sind tragbaren medizinische Geräte voll funktionsfähige Systeme, die typischerweise folgende Komponenten enthalten:

  • einen Mikrocontroller (MCU) zum Ausführen des Codes und der Firmware sowie zur Verwaltung und Verarbeitung von Daten;

  • einen aufladbaren Akku zur Stromversorgung;

  • Sensoren zur Erfassung physischer Parameter, zum Beispiel Pulsmesser, Blutzuckermessgeräte oder Sensoren wie Beschleunigungsmesser oder Gyroskope;

  • eine Schnittstelle zur drahtlosen Kommunikation – in der Regel ein gängiges Protokoll mit niedrigem Energieverbrauch wie Bluetooth Low Energy (BLE) oder Near-
    Field-Communication (NFC);

  • Sicherheitsmechanismen – eine Kombination aus Hardware und Software zur verschlüsselten Übertragung aller Daten und zur Verhinderung unautorisierter Zugriffe.

Jedes medizinische Überwachungsgerät dient einem bestimmten Zweck. Das gilt selbst für ein universelles Fitnessarmband, das die Vitalwerte kontrolliert. Die Wahl der jeweiligen MCUs und Sensoren wird durch diesen Zweck definiert. Besonders wichtig sind dabei die benötigte Genauigkeit, Zuverlässigkeit und Wiederholbarkeit der Messungen. Aber auch die mögliche Messdauer mit einer einzigen Akkuladung spielt eine große Rolle. In vielen Fällen sind Komponenten mit extrem niedrigem Energieverbrauch erforderlich.

Richtige Wahl der Hardware

Die MCU bildet den Kern des Systems, der sämtliche Peripherieelemente integriert, einschließlich Sensoren und anderer Bauteile. Oft werden Peripheriegeräte durch die Architektur in Domänen oder Gruppen unterteilt, die sich separat abschalten lassen, wenn sie nicht benötigt werden. Der HF-Bereich ist beispielsweise nur zur Datenübertragung erforderlich; und ein Sensor, der nur eine Messung pro Minute vornimmt, kann zwischenzeitlich ausgeschaltet werden.

Für die Entwicklung eines modernen Wearables wählen Designer MCUs mit einem möglichst geringen Energieverbrauch. Die derzeit effizienteste MCU verbraucht weniger als 1 mA im Betrieb und nur wenige Nanoampere im Ruhemodus. Zudem spielt die MCU eine wichtige Rolle für den Gesamtenergieverbrauch, da sie die Stromversorgung der Peripherieelemente steuert und sicherstellt, dass keine wertvolle Akkukapazität verschwendet wird.

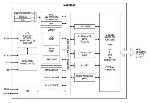
Maxim Integrated hat mit dem MAX32660 eine MCU entwickelt, die ein Gleichgewicht zwischen Leistung und Effizienz schafft und damit eine ideale Wahl für tragbare Geräte darstellt. Die MCU verfügt über einen 32-Bit-ARM-Cortex-M4-Kern und einen Gleitkommaprozessor (FPU). Der MAX32660 kann die Stromversorgung von Sensoren und anderen Bauteilen verwalten; zudem kann er externe Speichergeräte steuern und ermöglicht so die Entwicklung und Ausführung fortschrittlicher Verarbeitungsalgorithmen. Im Hinblick auf den Energieverbrauch ist die Maxim-MCU mit einem Verbrauch von nur 50 μW pro Megahertz an Taktfrequenz branchenführend. Und mit einer Größe von gerade einmal 1,6 mm × 1,6 mm (WLP-Gehäuse) passt es problemlos in kleine tragbare Geräte.

MCUs mit niedrigem Energieverbrauch

Ein weiterer Hersteller, der eine Vielzahl an 32-Bit-MCUs mit extrem geringem Energieverbrauch anbietet, ist Microchip. Seine SAM-Baureihe umfasst neben kleinen SAM-D-MCUs mit ARM-Cortex-M0+-Technologie die leistungsstarken MCUs der PIC32MX-Serie mit XLP-Technologie sowie die extrem energiesparenden Bauteile der SAM-L-Reihe. Mit einem Verbrauch von nur 200 nA im Ruhemodus erfordern diese Komponenten weniger als 35 µA/MHz im aktiven Betrieb. Neben ihrer geringen Größe und ihrer Energieeffizienz bieten sie zahlreiche Zusatzfunktionen und enthalten LCD-Ports, Operationsverstärker, Zeitgeber, mTouch-Erfassung, USB- und DMA-Schnittstellen.

Silicon Labs hat die EFM32-Giant-Gecko-Einheit mit ARM-Cortex-M3-Kern entwickelt – eine weitere 32-Bit-MCU für medizinische Wearables. Dieses Bauteil umfasst autonome Peripherieelemente mit geringem Energieverbrauch – einschließlich AES-Verschlüsselung für erhöhte Sicherheit, UART zur Kommunikation, einer Sensorschnittstelle mit reduziertem Energieverbrauch und integrierten Operationsverstärkern.

Dennoch: Keine noch so energieoptimierte MCU kann darüber hinwegtäuschen, dass ein Akku nur endlich lange Strom liefern kann. Zum Glück hat sich die Akkutechnologie in den letzten Jahren erheblich weiterentwickelt – vorhandene Chemikalien wurden optimiert, und kontinuierlich werden neue Chemikalien getestet. In Wearables kommen meist Lithium-Ionen-Akkus (Li-Ionen) zum Einsatz, die mit einer einzigen Zelle Spannungen zwischen 3,2 und 4 V erzeugen. Auch Lithium-Polymer-Akkus (Li-Po) werden in einigen Wearables verwendet; aufgrund ihrer höheren Speicherleistung und ihrer relativ guten Umweltverträglichkeit werden aber Li-Ionen-Akkus bevorzugt.

Begrenzte Akkulaufzeit

Die Gesetze der Physik gelten jedoch auch hier: Je höher die Speicherkapazität eines Li-Ionen-Akkus, desto größer ist er. In sehr kleinen Designs (wie Wearables) stellen diese Akkus also relativ wenig Energie zur Verfügung, um das Gerät über lange Zeiträume zu versorgen. Um diese missliche Lage zu verbessern, werden fieberhaft neue Materialien und Technologien erforscht. Zahlreiche Studien zeigen mittlerweile, dass Graphen die Akkukapazität pro Einheitsvolumen enorm steigern kann. Auch Superkondensatoren werden erforscht – dank genereller Fortschritte in der Nanotechnologie werden diese Bauteile immer leistungsfähiger.

Geringere Abhängigkeit von Akkus

Trotz dieser Fortschritte sind die Akkus nach wie vor das „Nadelöhr“ bei tragbaren medizinischen Anwendungen. Wenn beispielsweise ein Patient vergisst, den Akku seines Wearables regelmäßig aufzuladen, ist möglicherweise seine durchgängige Überwachung nicht mehr gewährleistet. Zwar kann das Pflegepersonal das Aufladen übernehmen, was jedoch eine zusätzliche Belastung für das Gesundheitssystem darstellen würde. Deshalb werden akkubetriebene medizinische Überwachungsgeräte nach wie vor nur zögerlich vom medizinischen Personal akzeptiert, und Hersteller suchen nach anderen Möglichkeiten der Stromversorgung.

Mit Energy Harvesting ist ein Gerät nicht auf gespeicherte Energie in Form eines Akkus angewiesen. Stattdessen wird Energie aus Sonnenlicht, Wärme oder aus Bewegungen des Menschen erzeugt, der das Gerät trägt. Bei ausreichend Licht, Wärme oder Bewegung besteht damit eine fast unerschöpfliche Energiequelle, sodass das Wearable unbegrenzt und ohne Unterbrechung arbeiten kann. Und das Beste daran: Im Durchschnitt gibt eine Person 107 J pro Tag als Kombination aus Wärme und Bewegung ab, und diese Energie reicht im Prinzip problemlos aus, um ein kleines tragbares Gerät mit Strom zu versorgen!

Elektrizität aus Wärme

Die Umwandlung von Wärme in Elektrizität basiert auf dem Seebeck-Effekt, gemäß dem bei einer Temperaturdifferenz zwischen zwei Punkten eine elektrische Spannung entsteht. Im Falle eines Wearables wären dies die Fläche, die den Patienten berührt (warm), und die nach außen zeigende Oberfläche (kühl). Für diese Umwandlung wird ein halbleiterbasiertes Peltier-Element verwendet, das – anders als Solar-PV-Technologie, die in Innenräumen weniger gut und nachts gar nicht funktioniert – rund um die Uhr Energie erzeugen kann.

Wenn sich der Patient bewegt, erzeugt er mechanische Energie. Diese kann mithilfe von piezoelektrischen Elementen, die bei jeder Bewegung eine geringe Spannung erzeugen, in elektrische Energie umgewandelt werden. Würth Elektronik bietet ein Entwicklungs-Kit für eine mobile Energy-Harvesting-Lösung an – eine einfache Möglichkeit für Entwickler, in die Welt des Energy Harvesting einzutauchen.

Regulierung integrierter Spannungen

Tragbare Geräte verfügen in der Regel über einen integrierten DC/DC-Wandler, der sicherstellt, dass alle Bauteile im System mit konstanter Spannung versorgt werden – auch wenn die Quelle Schwankungen aufweist. DC/DC-Wandler werden normalerweise von der MCU gesteuert. Moderne Wandler verwalten die gesamte Leistung im Gerät und stellen sicher, dass sie möglichst effizient genutzt wird. Dazu gehört auch, dass der DC/DC-Wandler selbst möglichst wenig Energie verbraucht. Eine hochintegrierte DC/DC-Wandlerlösung ist der LTC3107 von Linear Technology. Er wurde speziell im Hinblick auf Energy Harvesting konzipiert und arbeitet sehr energiesparend. Wird er zusammen mit Energy Harvesting eingesetzt, sorgt er deshalb für eine erheblich längere Akkulaufzeit.

Bildergalerie

  • Die MCU MAX32660 sorgt bei Wearables für ein gutes Gleichgewicht zwischen Leistung und Effizienz.

    Die MCU MAX32660 sorgt bei Wearables für ein gutes Gleichgewicht zwischen Leistung und Effizienz.

  • Die 32-Bit-MCU EFM32 von Silicon Labs umfasst autonome Peripherieelemente mit geringem Energieverbrauch.

    Die 32-Bit-MCU EFM32 von Silicon Labs umfasst autonome Peripherieelemente mit geringem Energieverbrauch.

  • Ein typischer Applikationskreislauf der DC/DC-Wandlerlösung LTC3107, die speziell im Hinblick auf Energy Harvesting konzipiert wurde.

    Ein typischer Applikationskreislauf der DC/DC-Wandlerlösung LTC3107, die speziell im Hinblick auf Energy Harvesting konzipiert wurde.

Verwandte Artikel